Navigation switch
首页
KPL
商业版图
娱乐
二手房
健康
酒店
更多
艺术品
智能硬件
证券
科技
汽车
新闻
生活
时尚
食品
教育
亲子
体育
最新
最新!教育部:为急救设备薄弱地区中小学配置AED
晶圓下的守護溫度:SkyWater 冠羽攜手執行長,用半導體精度丈量公益深度
晶圓下的守護溫度:SkyWater 冠羽攜手執行長,用半導體精度丈量公益深度
三环华兰王强:以产业思维破局,以责任担当赋能板材行业蝶变
小猿AI学习机T6荣登三大电商平台4000-5000元档学习机销售额第一
3月29日,刚刚发布的小猿AI学习机T6迎来品牌日,凭借强劲的市场表现一举斩获京东、天猫、抖音三大主流电商平台4000-5000元档学习机销售额第一名,成为该价格段内最受消费者青睐的学习机产品。这一成绩不仅彰显了T6学习机强大的产品力,也进一步印证了市场对AI赋能学习效果提升的普遍认可。
清华大学心理与认知科学系携手猿编程成立AI教育研究中心,共筑学术高地
当人工智能重构能力边界、重塑教育本质,一场关乎人类未来、教育使命与下一代成长的深刻变革正席卷全球。智能时代,人类真正不可替代的能力究竟是什么?如何让青少年不被AI裹挟,而是成为未来的创造者、文明的塑造者?
茅台提价,其他白酒跟吗?
对于次高端和区域中小酒企而言,当前核心任务是去库存、稳动销,而非提价。
3月31日北京新房网签1151套、二手房网签1491套
北京市住建委官网数据显示,3月31日北京新房网签1151套,网签面积124688.59平方米。
新城控股的七年 王晓松的难关
日,新城控股披露2025年度业绩报告,全年营业收入530.12亿元,同比下降40.44%。
实控人退意坚决 百花医药再谋易主
不到四个月时间,百花医药再度站上控制权变更的十字路口。
业绩显著改善 三大航扭亏见曙光
三大航的减亏之路迎来率先冲线者。
友情链接
中文资讯网
数字资产网
区块链网
科技在线
财富综合资讯
女性时尚网
在线新闻
派农源-文化旅游资讯
财经新闻网
环球快讯
世界新闻网
全网新闻门户
全网新闻门户
南方新闻网
四方新闻
猛料新闻门户
安徽新闻网
数码新闻
人人新闻
区块新闻网
日报新闻
奇奇新闻网
上海科技网
信阳新闻
武威新闻
影视追踪
青岛新闻
微商新闻
Global商务
巴士快讯
中国报刊网
东北资讯
平阳网
多维新闻门户
旅行快讯
物联网
5G 模组在线
海外推广资讯
海外发稿网
海外推广
新闻
西安有小区存在拐卖妇女儿童?公安辟谣提醒
近日,一则“西安市西咸新区某小区存在拐卖妇女儿童”“渭柳佳苑抓获4名人贩子”的帖文在抖音等社交平台传播,引发网民关注,对社会秩序造成不良影响。经查:西安本地并未发生此类拐卖事件,所用内容均为不实信息,属于谣言。西安公安提醒:互联网不是法外之...
04-03
新闻分析丨国际数学界为何集体抵制赴美参会
新华社柏林4月2日电 新闻分析|国际数学界为何集体抵制赴美参会 新华社记者褚怡 杜哲宇 在以严谨和确定性著称的数学界,“赴美”越来越成为一种风险考量。近日,围绕2026年国际数学家大会会址的争
04-03
俄罗斯一客运列车部分车厢脱轨
新华社莫斯科4月3日电 据俄罗斯铁路公司3日消息,一辆开往莫斯科的客运列车的7节车厢当天在乌里扬诺夫斯克州脱轨。
04-03
巴基斯坦西北部发生爆炸 至少5人死亡
新华社伊斯兰堡4月3日电(记者杨恺)巴基斯坦警方消息人士3日向新华社记者证实,该国西北部开伯尔-普什图省当天凌晨发生一起爆炸事件,造成至少5人死亡、多人受伤。
04-03
日本涉大麻“瘾君子”数量创新高 七成为年轻人
新华社北京4月3日电 日本警察厅2日发布的数据显示,日本2025年共有近7000人因持有或吸食大麻接受调查,创有相关统计以来最高值。涉案者中逾七成属于年轻群体,大麻对日本年轻群体的侵蚀状况日益严重
04-03
链东盟 通全球——中马钦州产业园区开放发展提速
今年1月,印度尼西亚首柜冷冻榴莲出口中国接收仪式在中马钦州产业园区举行,全国首批多式联运业务落地该园区;2月,中石油广西石化公司首单60吨溶聚丁苯橡胶出口运抵柬埔寨;单船装载147支,钦州港码头风电叶片装载量
04-03
宁夏贺兰山东麓葡萄酒金山产区开启2026展藤季
中新社银川4月3日电 (记者 李佩珊)春风拂过贺兰山东麓,藤芽初绽,酒香渐浓。4月3日,“春醒藤启·醉美金山——2026宁夏银川市贺兰县金山产区展藤节暨春耕开园盛典”在沃尔丰酒庄启幕,当地酒庄从业者、市民游客齐聚
04-03
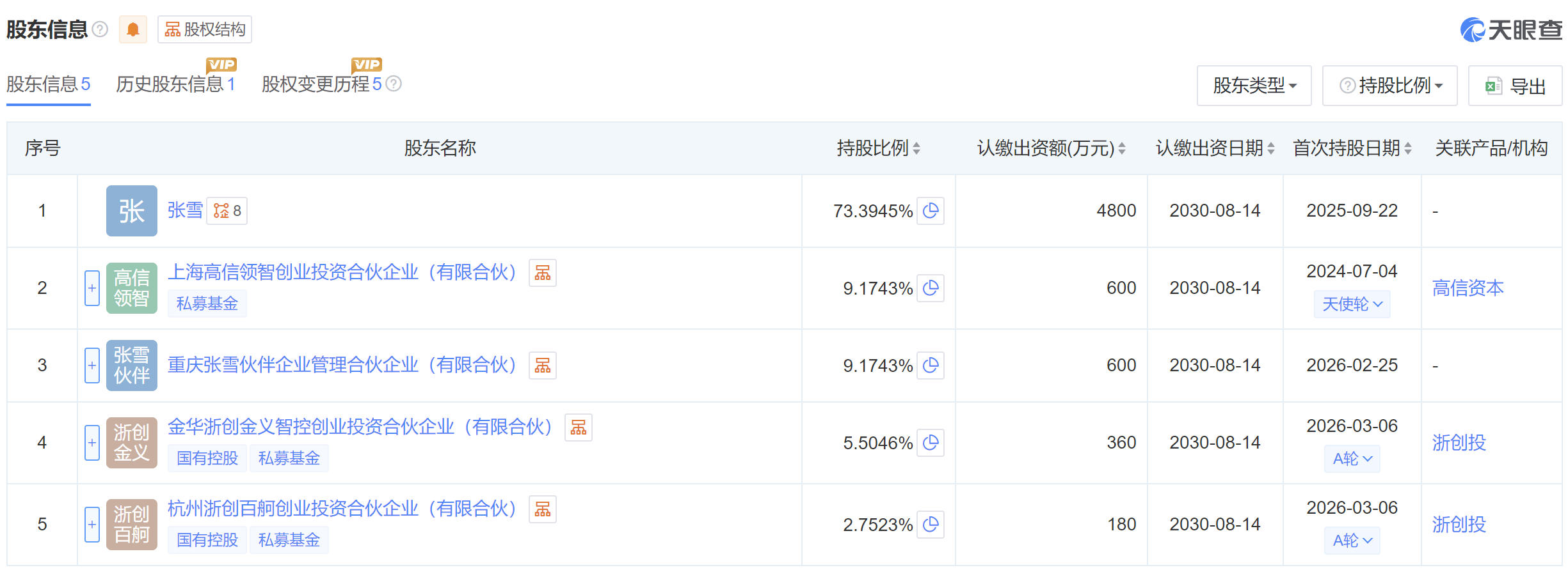
最早投资张雪的人,赚翻了
中新经纬4月3日电 (董文博)一战封神,张雪机车点燃了国产摩托车市场,仅有的两个投资方也站上了话题中心。
04-03
福州黄岐至马祖“小三通”客运航线增开新航班
中新社福州4月3日电 (郑江洛)清明假期来临,两岸“小三通”客运航线逐渐迎来客流高峰。为此,福州黄岐至马祖“小三通”客运航线将分别于4月3日与6日增开新航班。
04-03
劉文雄AI系統整合專家
04-03
首页
1
2
3
4
下一页
尾页
每页10条(第
1
/ 411 页) 共 4101 条
返回顶部
最新
最新!教育部:为急救设备薄弱地区中小学配置AED
晶圓下的守護溫度:SkyWater 冠羽攜手執行長,用半導體精度丈量公益深度
三环华兰王强:以产业思维破局,以责任担当赋能板材行业蝶变
小猿AI学习机T6荣登三大电商平台4000-5000元档学习机销售额第一
清华大学心理与认知科学系携手猿编程成立AI教育研究中心,共筑学术高地
茅台提价,其他白酒跟吗?
©版权 2009-2020 平阳网
联系我们
SiteMap